Francouzský tank AMX Leclerc

Tanková a obrněná technika
Odpovědět
seabee
Kapitán
Kapitán
Příspěvky: 4648
Registrován: 18/7/2013, 18:59

Re: Francouzský tank AMX Leclerc

Příspěvek od seabee »

Oficiální francouzská vyjádření jsou tak 3 týdny stará, vyhýbavá a nezávazná. Názor odborníka z 29.1. Od té doby ticho po pěšině:
Válka na Ukrajině: dodávka francouzských tanků Leclerc by měla "omezený účinek na zemi".

ROZHOVOR - Emmanuel Macron v neděli nevyloučil dodávku těžkých bojových tanků Leclerc Ukrajině na podporu její války proti Rusku. Léo Péria-Peigné, odborník na zbraně z Francouzského institutu mezinárodních vztahů (Ifri), analyzuje důsledky takové dodávky.Bude Francie následovat Německo? Zatímco Berlín dal ve středu zelenou dodávce tanků Leopard na Ukrajinu, aby ji podpořil ve válce proti Rusku, Francie podle Emmanuela Macrona nevylučuje dodávku těžkých bojových tanků Leclerc. Tento postoj potvrdila ve středu v Senátu během jednání o aktuálních otázkách premiérka Elisabeth Borneová. "Pokud jde o tanky Leclerc, pokračujeme v analýze s ministrem armády," ujistila. Podle Léo Péria-Peigné, odborníka na zbraně z Francouzského institutu mezinárodních vztahů (Ifri), je však třeba vojenský zájem na takové dodávce brát s nadhledem. "Pokud se Francie nerozhodne dodat jich stovku, bude to mít v terénu jen omezený účinek za cenu lidských a materiálních investic ukrajinské vlády, navíc by to ukrajinskou flotilu stále více rozrůzňovalo," analyzuje odborník. Mohl by být tank Leclerc vojenským přínosem pro ukrajinskou armádu v boji proti Rusku?
Nemyslím si, že by dodávky tanků Leclerc byly pro Kyjev zajímavé. Je to moderní stroj, velmi účinný z hlediska mobility a palebné síly, ale pokud Francie nesouhlasí s dodávkou stovky těchto strojů, měl by na zemi jen omezený účinek za cenu lidských a materiálních investic, které by byly neúměrné ukrajinské armádě, a navíc by zvýšily heterogenitu ukrajinského loďstva. Hlavní výhodou vozu Leclerc je jeho motor, který zajišťuje vynikající mobilitu, ale který znamená velmi složitou údržbu bloku motoru, a to zejména u malých vozových parků.

10.2. v Bruselu Emmanuel Macron uvedl, že jeho "velmi důkladná a přesná diskuse" s Volodymyrem Zelenským ve středu v Paříži zdůraznila, že prioritou by mělo být "udělat vše pro to, abychom (Ukrajině) v nadcházejících týdnech pomohli vzdorovat" a "provést užitečné operace na jaře a v létě, pokud chceme být schopni souběžně provádět diplomatické akce".

"Pro spojence bylo zásadní dát přednost vybavení, které je nejužitečnější" a "nejrychlejší", dodal s tím, že tato kritéria splňují děla Caesar a systém pozemní protivzdušné obrany středního dosahu MAMBA dodaný Francií.

Dodávky "dělostřeleckých prvků, které mohou zahájit pozemní ofenzívu nebo klást odpor", by se možná měly "zintenzivnit", zdůraznil a slíbil, že "na tom bude v nadcházejících dnech pracovat".
Naposledy upravil(a) seabee dne 11/2/2023, 20:37, celkem upraveno 1 x.
Slyší-li nechápaví, podobají se hluchým.
Hérakleitos z Efesu, zvaný Skoteinos (Temný – asi 544-484 př.n.l.),
Uživatelský avatar
kacermiroslav
5. Plukovník
5. Plukovník
Příspěvky: 6195
Registrován: 25/3/2008, 14:07
Kontaktovat uživatele:

Re: Francouzský tank AMX Leclerc

Příspěvek od kacermiroslav »

To je velká škoda, že se zatím na jejich zprovoznění nenašli v uplynulých měsících finanční zdroje. To co jsem si mohl o tomto stroji přečíst, tak je to světová špička a v případě nasazení na Ukrajině ve větším množství, by mohli Rusům způsobit velké škody. Bohužel vedle chybějících financí, je dalším problémem chybějící čas. Tak snad se podaří rychleji pořídit ty Jordánské Challengery 1, které provozovat uložil k ledu teprve nedávno. Navíc jich mají k dispozici skoro čtyři stovky. Ale to jsem odbočil trošku od tématu.
ObrázekObrázekObrázek
Uživatelský avatar
Rase
5. Plukovník
5. Plukovník
Příspěvky: 17758
Registrován: 11/2/2010, 16:02
Bydliště: Prostějov

Re: Francouzský tank AMX Leclerc

Příspěvek od Rase »

kacermiroslav:
taky mi ty Challengery 1 dávají víc smysl. Osobně bych raději viděl ty Leclercy někde v Evropě - ideálně třeba v Rumunsku ve verzi XLR, kde by se jim mohli náležitě věnovat a pořádné tanky rovněž potřebují. Akorát kdo by to zaplatil mno.
Obrázek

"Vojáci neměli rádi Rakouska ani války, ale dřeli do úpadu těla" - Karel Poláček
seabee
Kapitán
Kapitán
Příspěvky: 4648
Registrován: 18/7/2013, 18:59

Re: Francouzský tank AMX Leclerc

Příspěvek od seabee »

Poslední zprávy jsou dva roky staré:
Slyší-li nechápaví, podobají se hluchým.
Hérakleitos z Efesu, zvaný Skoteinos (Temný – asi 544-484 př.n.l.),
Uživatelský avatar
kacermiroslav
5. Plukovník
5. Plukovník
Příspěvky: 6195
Registrován: 25/3/2008, 14:07
Kontaktovat uživatele:

Re: Francouzský tank AMX Leclerc

Příspěvek od kacermiroslav »

Rase píše: 11/2/2023, 20:41 kacermiroslav:
taky mi ty Challengery 1 dávají víc smysl. Osobně bych raději viděl ty Leclercy někde v Evropě - ideálně třeba v Rumunsku ve verzi XLR, kde by se jim mohli náležitě věnovat a pořádné tanky rovněž potřebují. Akorát kdo by to zaplatil mno.
Je to trošku OT, ale Rumunsko favorizuje americké tanky. V každém případě stroje Leclerck jsou nepochybně kvalitní tanky. Ale současná situace na Ukrajině ukazuje jejich handicap a tím jsou počty. Nejsou prostě kompatibilní se zbytky tanků NATO, kde hrají prim Leo2 a M1 Abrams. Je mi jasné, že vývoj Leclerců má asi takové politické opodstatnění jako v případě britských Challengerů. Ale bohužel to vše tříští následnou bojeschopnost NATO. Líbí se mi evropské projekty typu Eurofighter, ale bohužel i tento případ není zrovna tím nejlepším případem. Stejně si pak každá členská země NATO jde vlastní cestou výběru. Bohužel dobrým příkladem je výběr transportérů pro ČR a SK. Ačkoliv stejný výrobce, přesto na jedné i druhé straně stroj jiné konfigurace.

Ale jinak jak píšeš, kdo by to Rumunsku zaplatil? Přeci zdroj NATO tak jako v případě ČR a SK a dalších zemí. Rumuni by mohli prakticky celou svou výzbroj ex. sovětské výroby a konstrukce předat na Ukrajinu, kde s tím umí pracovat. Následně pak v nějakém poměru by mohli očekávat doplnění své výzbroje západní technikou.

Zdroj: https://www.armadninoviny.cz/rumunsko-k ... brams.html
ObrázekObrázekObrázek
Uživatelský avatar
Rase
5. Plukovník
5. Plukovník
Příspěvky: 17758
Registrován: 11/2/2010, 16:02
Bydliště: Prostějov

Re: Francouzský tank AMX Leclerc

Příspěvek od Rase »

Podle článku v deníku Le Monde z 5. července 2023 již začala francouzská armáda přebírat první tanky Leclerc XLR. První dva tanky XLR byly dodány v červnu a do konce roku 2023 mají převzít první sérii 18 operačních tanků. Celkovým plánem je do roku 2029 modernizovat 200 z 215 tanků Leclerc, které jsou v současnosti ve výzbroji francouzské armády. Pojekt se realizuje v závodě KNDS v Rouannu.

https://armyrecognition.com/defense_new ... ation.html
Obrázek

"Vojáci neměli rádi Rakouska ani války, ale dřeli do úpadu těla" - Karel Poláček
Uživatelský avatar
Rase
5. Plukovník
5. Plukovník
Příspěvky: 17758
Registrován: 11/2/2010, 16:02
Bydliště: Prostějov

Re: Francouzský tank AMX Leclerc

Příspěvek od Rase »

Vnitřní pohledy na francouzský tank Leclerc XLR. Všimněte si, že staré gunner/commner CRT monitory byly nahrazeny velkými dotykovými displeji (stejné jako Jaguar). Nalevo od TC je také nový přenosný terminál (TacMaster) s integrovaným SICS, který nahrazuje SIT-ICONE.

IMG_3311.jpeg
IMG_3312.jpeg
IMG_3313.jpeg
IMG_3371.jpeg
Obrázek

"Vojáci neměli rádi Rakouska ani války, ale dřeli do úpadu těla" - Karel Poláček
Uživatelský avatar
Rase
5. Plukovník
5. Plukovník
Příspěvky: 17758
Registrován: 11/2/2010, 16:02
Bydliště: Prostějov

Re: Francouzský tank AMX Leclerc

Příspěvek od Rase »

IMG_3370.jpeg
Obrázek

"Vojáci neměli rádi Rakouska ani války, ale dřeli do úpadu těla" - Karel Poláček
Uživatelský avatar
Rase
5. Plukovník
5. Plukovník
Příspěvky: 17758
Registrován: 11/2/2010, 16:02
Bydliště: Prostějov

Re: Francouzský tank AMX Leclerc

Příspěvek od Rase »

Ochrana střechy pro Leclerc, z roku 1991. Již dlouho předtím, než se objevila dálkově ovládaná munice nazývaná kamikadze drony, která může útočit na obrněná vozidla z různých úhlů, měli konstruktéři tanků obavy ze zranitelnosti vůči bombám s kazetovou municí a protitankovými střelami.

IMG_4200.jpeg
Obrázek

"Vojáci neměli rádi Rakouska ani války, ale dřeli do úpadu těla" - Karel Poláček
Dzin
7. Major
7. Major
Příspěvky: 12561
Registrován: 16/10/2004, 21:31

Re: Francouzský tank AMX Leclerc

Příspěvek od Dzin »

Pěkné koncepty, ani nevím, že něco takového bylo. Aspoň je vidět, že konstruktéři tanků brali ochranu z různých směrů vážně dost dlouho.
Obrázek

Člen palby bez super hlášky pod čarou
Uživatelský avatar
Rase
5. Plukovník
5. Plukovník
Příspěvky: 17758
Registrován: 11/2/2010, 16:02
Bydliště: Prostějov

Re: Francouzský tank AMX Leclerc

Příspěvek od Rase »

Francie údajně nabídla Kyperské republice tanky Leclerc v hodnotě 250 milionů eur (6,3 mld Kč).

https://twitter.com/aidefranceukr/statu ... 7613568331
Obrázek

"Vojáci neměli rádi Rakouska ani války, ale dřeli do úpadu těla" - Karel Poláček
Dzin
7. Major
7. Major
Příspěvky: 12561
Registrován: 16/10/2004, 21:31

Re: Francouzský tank AMX Leclerc

Příspěvek od Dzin »

Pěkné. Nejspíše jako náhrada za AMX-30B2, u kterých se spekuluje, že je nahradí izraelské Merkavy. I když mě ještě napadlo, že by to bylo za T-80, které by Francie potom odkoupila a darovala Ukrajině. Ale to už je hodně divoké, nejspíše to budou zmíněné AMX-30.
Obrázek

Člen palby bez super hlášky pod čarou
Uživatelský avatar
Rase
5. Plukovník
5. Plukovník
Příspěvky: 17758
Registrován: 11/2/2010, 16:02
Bydliště: Prostějov

Re: Francouzský tank AMX Leclerc

Příspěvek od Rase »

Podle mě jde právě o onu výměnu za T-80U, které by pak šly na Ukrajinu. Nu uvidíme.
Obrázek

"Vojáci neměli rádi Rakouska ani války, ale dřeli do úpadu těla" - Karel Poláček
Dzin
7. Major
7. Major
Příspěvky: 12561
Registrován: 16/10/2004, 21:31

Re: Francouzský tank AMX Leclerc

Příspěvek od Dzin »

Má to svojí logiku a jsem rád, že nejsem sám, koho to napadlo. Stejně tak by mělo logiku, že si nechají pouze francouzské tanky, ale to má háček, že o náhradě AMX-30 se mluví už delší dobu. A nebo to bude ještě zásadnější a prostě jak T-80 tak AMX-30 nahradí Leclercy. To by mělo nejlepší potenciál, protože by přestali provozovat dva typy tanků a sjednotili se na jedné platformě.
Obrázek

Člen palby bez super hlášky pod čarou
Uživatelský avatar
Rase
5. Plukovník
5. Plukovník
Příspěvky: 17758
Registrován: 11/2/2010, 16:02
Bydliště: Prostějov

Re: Francouzský tank AMX Leclerc

Příspěvek od Rase »

Taky Francie je docela významný lokální protivník Turecka. Pomáhají vyzbrojovat Řecko a v Libyi stáli na opačných stranách barikády, kdy Francie (i Řecko) stála za vládou v Tobrúku (Haftar) a Turecko za Tripolisem.
Obrázek

"Vojáci neměli rádi Rakouska ani války, ale dřeli do úpadu těla" - Karel Poláček
Uživatelský avatar
Rase
5. Plukovník
5. Plukovník
Příspěvky: 17758
Registrován: 11/2/2010, 16:02
Bydliště: Prostějov

Re: Francouzský tank AMX Leclerc

Příspěvek od Rase »

Kompozitní pancéřové bloky věže tanku Leclerc.

IMG_6580.jpeg
Obrázek

"Vojáci neměli rádi Rakouska ani války, ale dřeli do úpadu těla" - Karel Poláček
Dzin
7. Major
7. Major
Příspěvky: 12561
Registrován: 16/10/2004, 21:31

Re: Francouzský tank AMX Leclerc

Příspěvek od Dzin »

Pěkné.
Obrázek

Člen palby bez super hlášky pod čarou
NOTNA
nadrotmistr
nadrotmistr
Příspěvky: 170
Registrován: 5/1/2021, 22:11

Re: Francouzský tank AMX Leclerc

Příspěvek od NOTNA »

Ako sú upevnené na skelet veže?
Uživatelský avatar
Rase
5. Plukovník
5. Plukovník
Příspěvky: 17758
Registrován: 11/2/2010, 16:02
Bydliště: Prostějov

Re: Francouzský tank AMX Leclerc

Příspěvek od Rase »

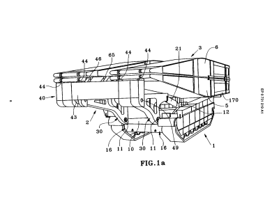
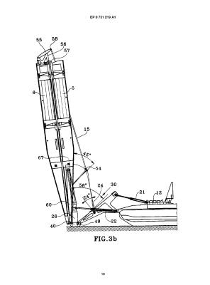
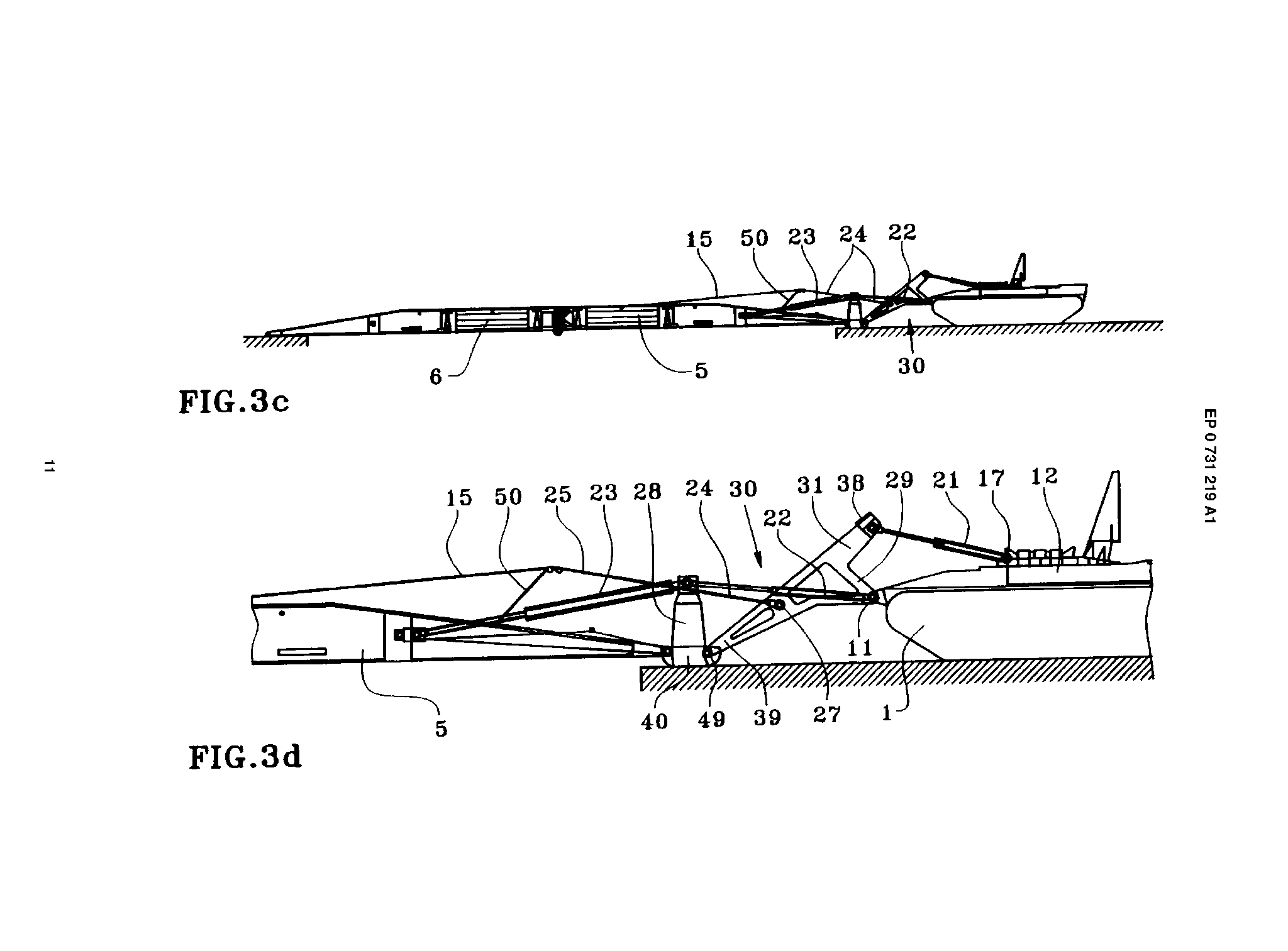
Patent (EP0731219A1) mostního tanku Leclerc od společnosti GIAT z roku 1995.

IMG_8105.png
IMG_8106.png
IMG_8107.png
IMG_8108.png
Obrázek

"Vojáci neměli rádi Rakouska ani války, ale dřeli do úpadu těla" - Karel Poláček
Uživatelský avatar
Rase
5. Plukovník
5. Plukovník
Příspěvky: 17758
Registrován: 11/2/2010, 16:02
Bydliště: Prostějov

Re: Francouzský tank AMX Leclerc

Příspěvek od Rase »

Hlavní inovací budou digitální zaměřovače PASEO

Velitelství pro budoucí boj CCF (Commandement du combat futur) francouzské armády uvedlo, že hlavní inovací celého programu Leclerc XLR bude digitální zaměřovače PASEO, čímž se razantně zvýší kvalita sledování, detekce a klasifikace cílů. Pokročilý elektrooptický zaměřovač PASEO (Panoramique Armement Stabilisé Electro-Optique) vyrábí společnost Safran Electronics & Defense a je určen pro velitele a střelce tanků Leclerc XLR, ale i vozidel Jaguar a Griffon. Umožňuje 360° panoramatické pozorování nezávislé na pohybu věže, je vybaven denním a termovizním kanálem, laserovým dálkoměrem a využívá umělou inteligenci (AI) pro detekci a klasifikaci cílů (např. pěchota, vozidla, tanky). Momentálně probíhá testování systému u Technické sekce pozemního vojska STAT (Section technique de l’armée de Terre). První dodávky zaměřovačů PASEO se očekávají až v roce 2028. Umělá inteligence rozšíří schopnosti PASEO o:

Automatické sledování sektoru pomocí "režimu skenování krajiny", které umožní veliteli věnovat se jiným úkolům během monitorování okolí. Například při průjezdu složitým prostředím – zástavbou, lesem nebo nepřehledným terénem – může velitel aktivovat automatické skenování sektoru v určitém rozsahu (např. 90° nebo 180°) a přenechat vizuální kontrolu okolí AI. V případě detekce anomálie (např. dronu) zaměřovač upozorní obsluhu, automaticky přiblíží dané místo a navrhne jeho označení jako cíl.

PASEO může nejen detekovat objekty v obraze, ale také je identifikovat podle typu – pěchota, kolová vozidla, pásová technika, optické senzory, zbraně apod. Obraz v zaměřovači je v reálném čase doplňován o barevné obrysy nebo značky, které rozlišují jednotlivé typy cílů (např. červeně tanky, modře obrněné transportéry, žlutě vojáky na zemi). Toto označení výrazně urychluje orientaci v komplexní situaci – například při střetu s několika typy jednotek, během obrany pozic nebo v městském boji, kde je nutné rychle identifikovat hrozby skryté mezi civilní infrastrukturou.

PASEO je vybaven funkcí pro automatickou korekci obrazu, která využívá algoritmy strojového vidění a fyzikální modely prostředí. Tato technologie slouží k tomu, aby byl obraz z termokamery nebo optiky čitelný i v podmínkách, kdy by běžné senzory selhávaly – například při tepelném třepení (např. nad rozpáleným povrchem), silném prašném prostředí, večerní inverzi nebo mlze. Systém dokáže potlačit vizuální artefakty způsobené atmosférickými turbulencemi, vyrovnat rozdíly jasu, zvýšit kontrast a zpřesnit obrysy objektů. Výsledkem je stabilní a srozumitelný obraz, který umožňuje efektivní rozhodování i v extrémních podmínkách. Například při operacích v Sahelu, kde může posádku oslepit nejen prach, ale i žár stoupající z vyprahlé země, tato funkce zásadně zvyšuje pravděpodobnost včasné detekce hrozby, jako je přibližující se vozidlo nebo pohybující se ozbrojenec.


https://www.opex360.com/2025/04/20/larm ... clerc-xlr/

leclerc-xlr-20221110.jpg
Obrázek

"Vojáci neměli rádi Rakouska ani války, ale dřeli do úpadu těla" - Karel Poláček
Odpovědět

Zpět na „Obrněná technika“