Zdroj: https://ir.rheinmetall.com/download/com ... online.pdf
Víc obrázků ("pérovky"): https://www.dom1n.com/newsy/nowoczesny- ... c-znajomy/

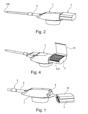
Údajný patent Rheinmetallu publikovaný koncem října (sturgeonhouse/forum).Rase píše:s patrně bezosádkovou věží a kanónem ráže 130 mm













To je slepá cesta když Ruska armada použila na Donbasu proti Ukrajinské armádě rušící system Аистёнок 2 a bohužel velice úspěšné blokoval vše v okruhu 30 km.Zemakt píše:Tak ona je to cesta. Jen se to musí pořádně vychytat, a tím vlastně i odpovídám na Skeptikovo narážky.

to asi ne ale tahle hračka je funkční a je zdokumentovány 8.02 ( https://www.youtube.com/watch?v=dnMmdwg5LVw )a jeji fragmenty mají z Delbaceva.Ale mimochodem ono ani výrobce Leopardu 2 moc nezajímalo proc byly rozstřelené Leopardy 2 v Sýrii.(https://www.youtube.com/watch?v=X6nZvDn6gRQ)Rase píše:Jasně, ruské superhračky na které vždycky zapomínáme. Mno konstruktéry Rheinmetallu očividně moc nevzrušují. Takže asi tak.
